
Reference Fret Level™
Reference Fret Level is a revolutionary method for leveling a single fret or a group of frets based on a fixed reference level. Introduced to the guitar community by inventor Davide Bissoli (Tokyo) in 2011, this concept allows precise fret height correction with the neck straight or without the need to straighten it.
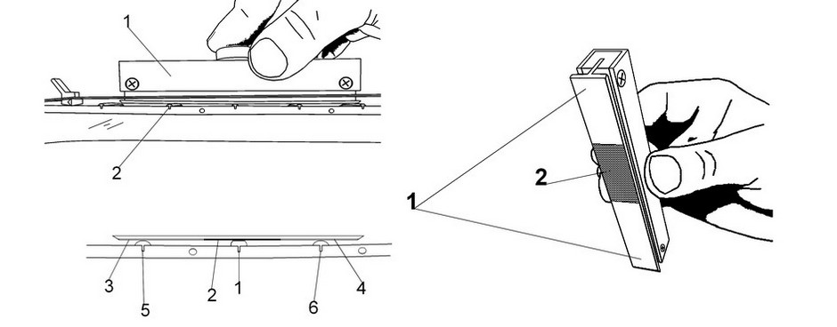
The bottom of the tool features alternating areas with different mechanical properties. These are arranged in such a way that the tool removes material only from the higher frets, automatically stopping once it touches the lower frets used as a reference.
This breakthrough method works either on a flat surface or with a built-in relief that mirrors the actual neck relief. This means the neck can be left in its playing shape, eliminating the need to straighten it artificially for fret leveling. The tool can even be used to imprint a specific contour onto a fretboard or part of it—something not easily achievable through standard leveling methods.
Why does this matter? In some cases, the truss rod generates a curve that isn’t ideal for leveling. Even using the fret leveling with strings on technique, the result might fall short if the relief isn’t optimal. The Reference Fret Level™ system along with the relief adjustability solves this by allowing you to define the relief precisely—even on instruments without a truss rod, where the neck shape cannot be adjusted.
The Buzz Killer™ tool (pictured) is just one configuration within Bissoli’s patented technology. The system allows for various tool lengths—from a span covers just three frets to the entire fretboard. Abrasive areas may include diamond grit, files, sandpaper, or similar materials. Non-abrasive (reference) zones can be made from Teflon, metal, plastic, or other suitable materials. Teflon has proven particularly effective and durable.
The base of the tool is essentially straight, but depending on the configuration, it can generate complex shapes, such as a compound curve or a concatenation of different relief zones, offering unprecedented control.
This concept is included as one of the example configurations in the same patent family that protects the adjustable Katana tool:
– USA: US9224369B2
– Europe: EP2608194B1 (UK, DE, FR, IT)
– Japan: JP5938783B2


